|
||||
|
|
Патентное бюро Автор: Сергей Леонов Метод конфигурирования BIOSMicrosoft![]() Небезызвестная компания решила внедриться на ранее недоступный ей низший уровень программного обеспечения, а именно - в сферу конфигурирования параметров BIOS, сделав свою версию программы BIOS Setup. Проблема лишь в одном - так как BIOS собирается из модулей производителями, да и сами модули выпускаются как минимум тремя основными разработчиками, общего формата или хотя бы описания настраиваемых параметров не существует. В связи с этим предлагается создать некое описание элементов BIOS, подлежащих конфигурированию, дабы по этому описанию программа могла распознать тип элементов и корректно ими управлять. Остается мелочь - заставить разработчиков железа внедрить эту технологию, но к таким приемчикам небезызвестной компании не привыкать. Календарь для сисадминаAlcatel
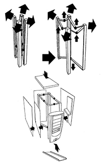
![]() Системные администраторы - народ забывчивый, особенно по части создания резервных копий носителей или оплаты продления лицензий на программные продукты. Специально для них Alcatel предлагает сделать программный календарь наподобие примененного в MS Outlook, куда и будут (будут ли?) предварительно записываться все необходимые действия. "Заявки" в календарь могут вносить или сами администраторы (ох, свежо предание…), или программное обеспечение, которое требует обслуживания, или же пользователи, желающие получить толику внимания админа. Различные цвета могут отображать задачи для разных рабочих станций в сети или важность запланированных действий. Графический интерфейс предусматривает даже отображение длительности работ по конкретному мероприятию, дабы админ мог правильно спланировать свой рабочий день. Система определения некорректных кликов в реальном времениСША![]() Компании, размещающие свою рекламу в Интернете, весьма обеспокоены активно развивающимися технологиями "накрутки" кликов - этим способом их реально "разводят на бабки", имитируя активность просмотра пользователем рекламы, когда таковой на самом деле нет. Для определения подобных действий в реальном времени предлагается создать систему-арбитр, определяющую "качество клика". Для определения "неправильного" клика арбитр должен сравнить лог-файл действий пользователя (нажатие кнопки мыши или клавиши Enter, перемещение указателя мыши над рекламным баннером или прочие действия, показывающие реальную активность) с лог-файлом сервера и при несовпадении - не засчитывать клик. Весьма сомневаюсь в перспективе этого предложения: мало того что отдавать на сторону протокол своих действий вряд ли кто захочет, так еще и сформировать подобный лог-файл программе, "накручивающей" клики, - пара пустяков. Умный автомобильСША![]() Очередная заявка на патент от женщины. Похоже, ей частенько приходится "арендовать" машину у мужа (или еще кого-нибудь), ибо суть заявки заключается в некоем устройстве, обеспечивающем автоматическую адаптацию всех возможных параметров авто под себя. Причем для активизации системы не нужно даже садиться в машину - в ручку водительской двери предлагается встроить сканер отпечатка пальца, и за время, пока водитель заносит ногу, прежде чем сесть в машину, автоматика должна отрегулировать высоту и наклон сиденья, положение руля и углы зеркал заднего обзора, установить нежное значение температуры на регуляторе климат-контроля, включить радио или другой источник звука и выбрать нужную станцию или соответствующий плейлист, загрузить в навигатор соответствующие пользователю точки назначения и маршруты, а во встроенный автомобильный телефон - персональную книгу контактов. Уф… кажется, все… Нет, не все. Автомобильный компьютер должен также настроиться на получение электронной почты с соответствующего адреса. В принципе реализовать вышеперечисленные функции не составит труда, но никаких подробностей, относительно того, как это сделать, в заявке нет - не женское дело копаться в мелочах. Складывающийся компьютерный корпусТайвань![]() Как известно, транспортировка корпуса компьютера - процедура не самая удобная. Копеечный, по сути, корпус занимает много места, а значит, заметно возрастают расходы на транспортировку, хотя перевозится по большей части не железо, а воздух. Что касается стенок и передней панели корпуса, то здесь все нормально, они снимаются и много места не требуют. А вот каркас… Авторы заявки предлагают сделать каркас складывающимся, снабдив ребра шарнирами. В сложенном состоянии конструкция занимает гораздо меньший объем, а жесткость в разложенном виде обеспечивается за счет крепежных элементов стенок и передней панели. |
|
||
|
Главная | В избранное | Наш E-MAIL | Прислать материал | Нашёл ошибку | Верх |
||||
|
|
||||